
Descrição do produto
A âncora para tubagem é um dispositivo utilizado para fixar tubagens ou oleodutos, normalmente utilizado na indústria de petróleo e gás. A sua principal função é evitar que a tubagem se mova ou caia durante a instalação, utilização ou manutenção, garantindo a estabilidade e a segurança da tubagem. Evita a fluência da tubagem, reduz a desconexão do obturador, a falha da coluna e a perda de curso da bomba provocadas pela fluência da tubagem.
Principais tipos de âncoras para tubagens de petróleo
Ancoragem mecânica para tubagens - Fixa a tubagem no interior do revestimento ou poço utilizando dispositivos mecânicos, tais como braçadeiras, molas, etc. As âncoras mecânicas comuns para tubagens incluem as âncoras para tubos de compressão e as âncoras para tubos de tensão.
Finalidade: Ligada à parte inferior do obturador, servindo de ponto de apoio inferior para a coluna do tubo, utilizada para fixar o obturador, superando o impulso descendente gerado pela pressão superior do obturador. A deposição de parafina é rigorosa. Os poços de petróleo pesados e parados não são adequados para utilização.
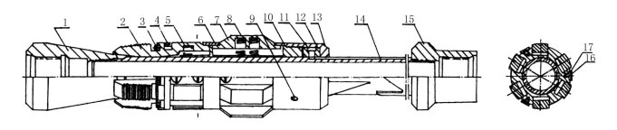
1. Cone 2. Kava 3. Mola de arco 4. Anel limitador superior 5. Mola de pressão interior 6. Anel limitador inferior 7. Bloco de fricção 8. Mola de pressão exterior 9. Parafuso anti-desaperto 10. Assento de endireitamento 11 - Cavilha do anel deslizante 12 - Anel deslizante 13 - Anel de suporte 14 - Tubo central 15 - Junta inferior 16 - Parafuso de fixação 17 - Junta
2. Casquilho do tubo de óleo hidráulico
- Fixe o tubo de óleo utilizando princípios hidráulicos. Os casquilhos do tubo de óleo hidráulico são geralmente fixos por cilindros ou pistões hidráulicos e são adequados para condições de trabalho complexas ou de alta pressão.
É constituído principalmente pelas seguintes peças: junta superior, conjunto deslizante, tubo central, pistão, dispositivo de bloqueio, junta inferior, etc. Pressione a braçadeira para estender, bloqueie o mecanismo de bloqueio, ancorar a coluna do tubo e levantar a coluna do tubo ao soltar a braçadeira.
Endereço:Sala 616, Fortune Plaza, Yungang Road, Zona Económica da Aviação
TELEFONE:+86 156 1779 7655
TEL:+86 371 85304855